ОСТ 1 13703-81 Наконечники облегченные для электропроводов с обжатием изоляции.

ОСТ 1 13703-81 НАКОНЕЧНИКИ ОБЛЕГЧЕННЫЕ ДЛЯ ЭЛЕКТРОПРОВОДОВ С ОБЖАТИЕМ ИЗОЛЯЦИИ.

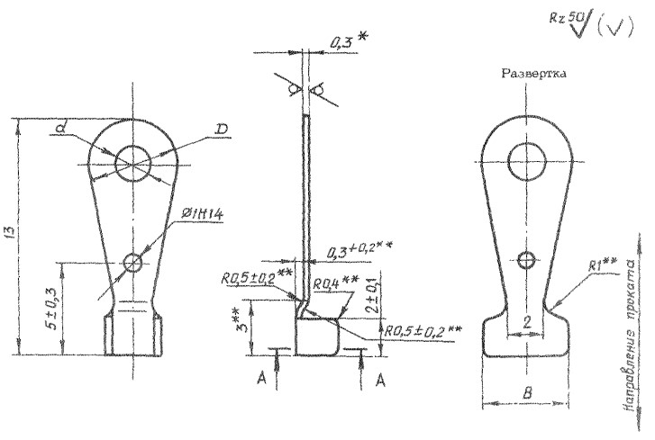
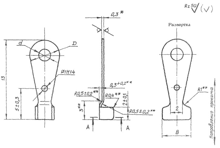
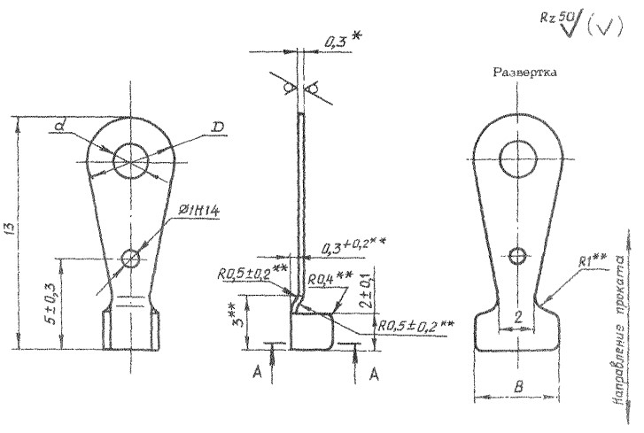
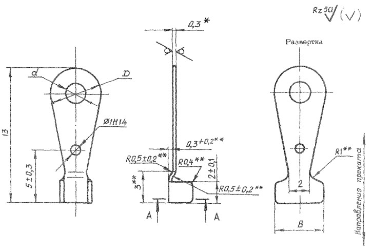
Наконечники по ОСТ 1 13703-81 - это специальный крепеж, так как его конструкция заключается в пластинчатом корпусе и кольце, ими можно соединенять и закреплять электрические провода (кабеля) между собой, по средствам обжатия или пайки трубчатого корпуса на жиле. Взамен нормали 6384А.

КОНСТРУКЦИЯ И ТЕХНИЧЕСКИЕ ОСОБЕННОСТИ

Конструкция наконечника состоит из пластинчатого корпуса и кольца.

Материал изготовления: лента НМЛ63 ГОСТ 2208-91.

Материал покрытия: оловянирование, серебрение.

ОСТ 1 13703-81.pdf

Пример наименования и обозначения облегченного наконечника для электропроводов с обжатием по изоляции ипоразмера 10 оловянированного:

Наконечник 10-25-ОСТ 1 13703-81

То же, серебреного:

Наконечник 10-38-ОСТ 1 13703-81

Наконечник
Наименование метиза
10
Типоразмер
38
Материал покрытия
ОСТ 1 13703-81
Нормативно-технический документ

ПРИМЕНЕНИЕ

     Данные наконечники распространяются для электропроводов с площадью сечения не более 0,20мм2 с обжатием изоляции, применяемые в электрических цепях летательных аппаратов.

АНАЛОГИ

Нормаль 6384А.

ОСТ/ГОСТНормальНаименованиеТипоразмерНа складе
ОСТ 1 13703-816384АНаконечник1В наличии
ОСТ 1 13703-816384АНаконечник2В наличии
ОСТ 1 13703-816384АНаконечник3В наличии
ОСТ 1 13703-816384АНаконечник4В наличии
ОСТ 1 13703-816384АНаконечник5В наличии
ОСТ 1 13703-816384АНаконечник6В наличии
ОСТ 1 13703-816384АНаконечник7В наличии
ОСТ 1 13703-816384АНаконечник8В наличии
ОСТ 1 13703-816384АНаконечник9В наличии
ОСТ 1 13703-816384АНаконечник10В наличии
ОСТ 1 13703-816384АНаконечник11В наличии
ОСТ 1 13703-816384АНаконечник12В наличии
ОСТ 1 13703-816384АНаконечник13В наличии
ОСТ 1 13703-816384АНаконечник14В наличии
ОСТ 1 13703-816384АНаконечник15В наличии
ОСТ 1 13703-816384АНаконечник16В наличии
ОСТ 1 13703-816384АНаконечник17В наличии
ОСТ 1 13703-816384АНаконечник18В наличии
ОСТ 1 13703-816384АНаконечник19В наличии
ОСТ 1 13703-816384АНаконечник20В наличии
ОСТ 1 13703-816384АНаконечник21В наличии
ОСТ 1 13703-816384АНаконечник22В наличии
ОСТ 1 13703-816384АНаконечник23В наличии
ОСТ 1 13703-816384АНаконечник24В наличии
ОСТ 1 13703-816384АНаконечник25В наличии
ОСТ 1 13703-816384АНаконечник26В наличии
ОСТ 1 13703-816384АНаконечник27В наличии
ОСТ 1 13703-816384АНаконечник28В наличии
ОСТ 1 13703-816384АНаконечник29В наличии
ОСТ 1 13703-816384АНаконечник30В наличии
ОСТ 1 13703-816384АНаконечник31В наличии
ОСТ 1 13703-816384АНаконечник32В наличии
ОСТ 1 13703-816384АНаконечник33В наличии
ОСТ 1 13703-816384АНаконечник34В наличии
ОСТ 1 13703-816384АНаконечник35В наличии
ОСТ 1 13703-816384АНаконечник36В наличии

Для изготовителей и поставщиков: Добавить мои товары в базу

Для покупателей: Подать заявку на покупку

НаименованиеТипоразмерМатериалКоличество, штВес, кг
Наконечник ОСТ 1 13703-81 6384А
О

ОСТ 1 30055-84 Накатка кольцевая стержней болт-заклепок из титанового сплава

ОСТ 1 31076-80 Маркировка крепежных изделий взамен НОРМАЛЬ 176АТ

ОСТ 1 31076-80: Маркировка крепежных изделий (взамен НОРМАЛЬ 176АТ)

ОСТ 1 38016-80 Футорки

ОСТ 1 38020-82 Втулки

ОСТ 1 39502-77 Стопорение болтов, винтов, шпилек, штифтов и гаек

ОСТ 1 39503-77 Длины болтов и винтов

ОСТ 1 39504-79 Головки шестигранные болтов и винтов

ОСТ 1 41471-79 Формообразование концов труб тяг управления из сплава Д16Т. Типовой технологический процесс

ОСТ 1 51730-79 Оснастка для формообразования концов труб тяг управления из сплава Д16Т

ОСТ 1 51731-79 Оснастка для формообразования концов труб тяг управления из сплава Д16Т

ОСТ 1.41001-79 Диаметры отверстий под нарезание резьбы метрической по нормали 754АТ

ОСТ 1.41002-79 Диаметры стержней под нарезание резьбы метрической по нормали 754АТ и ОСТ 1.00039-73

ОСТ 92-0762-72 Болты, винты из титановых сплавов

ОСТ 92-0912-69 Детали из высокопрочных углеродистых легированных и высоколегированных сталей. ОСТ 92-0912-69

ОСТ 92-1130-85 Детали стальные точные

ОСТ 92-1179-77 Детали и сборочные единицы из сталей марок 07Х16Н6 и 08Х17Н5М3

ОСТ 92-8653-75 по ОСТ 92-8674-75 Соединения трубопроводов по внутреннему конусу

ОСТ-1-33102-80 Взамен нормали 102АТУ Гайки ОСТ-1-33102-80

Отраслевая нормаль 214АТ В замен нормали 214МТ55 метрическая резьбой со свободной посадкой

Отраслевая нормаль 714М55 pdf Кольца плоские ,стопорные технические условия

Отраслевая нормаль авиационной техники 101АТУ Взамен 201СТУ51

Отраслевая нормаль авиационной техники. Нормаль 722АТ.

Р

РЕЗЬБА МЕТРИЧЕСКАЯ

Резьба метрическая усиленная тугой посадкой сталь в алюминиевые и магниевые сплавы. Нормаль 254АТ взамен нормальный 154МТ46

Резьба метрическая. Основные размеры и допуски. Отраслевая нормаль 257АТ взамен 57АТ50 взамен 153МТ54.

РЕЗЬБА ТРАПЕЦЕИДАЛЬНАЯ

РЕЗЬБА ТРУБНАЯ ЦИЛИНДРИЧЕСКАЯ

РЕЗЬБА УПОРНАЯ

Резьба усиленная метрическая тугой посадкой сталь сталь система вала настоящая норма распространяется на резьбу усиленную метрическую тугой посадкой для сопрягаемых материалов сталь в сталь. Нормаль 122МТ53 взамен нормали 122МТ51

Резьба усиленная метрическая тугой посадкой сталь сталь система вала настоящая норма распространяется на резьбу усиленную метрическую тугой посадкой для сопрягаемых материалов сталь в сталь. Нормаль 122МТ53 взамен нормали 122МТ51

Резьбовые соединения. Резьба метрическая с натягом по посадкам 2Н5Д и 2Н5С Отраслевой стандарт ОСТ 1 04065–92

Оформите заказ или получите консультацию