ГОСТ 20196-74 Переходники ввертные под резиновое уплотнение для соединений трубопроводов по наружному конусу

гост 20196-74 переходники ввертные под резиновое уплотнение для соединений трубопроводов по наружному конусу

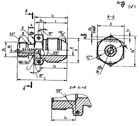
     Переходники ввертные по ГОСТ 20196-74 – это особый крепеж, предназначенный для соединений трубопроводов по наружному конусу.

КОНСТРУКЦИЯ И ТЕХНИЧЕСКИЕ ОСОБЕННОСТИ

     Конструкция переходника ввертного состоит из трубчатого корпуса с резьбами с двух сторон.

     Материал изготовления: алюминиевый сплав, сталь, бронза.

     Материал покрытия: без покрытия.

ГОСТ 20196-74.pdf

Пример условного обозначения ввертного переходника под резиновое уплотнение к трубопроводу Dн=10мм и диаметром d1=3,7мм из алюминиевого сплава:

Переходник ввертной 10-3,7-31А-ГОСТ 20196-74

Переходник ввертной
Наименование метиза
10
Наружный диаметр труб
3,7
Диаметр
31А
Условное обозначение
ГОСТ 20196-74
Нормативно-технический документ

То же, из стали марки 45:

Переходник ввертной 10-3,7-22А-ГОСТ 20196-74

Переходник ввертной
Наименование метиза
10
Наружный диаметр труб
3,7
Диаметр
22А
Условное обозначение сталь
ГОСТ 20196-74
Нормативно-технический документ

То же, из стали марки 12Х18Н9Т:

Переходник ввертной 10-3,7-13А-ГОСТ 20196-74

Переходник ввертной
Наименование метиза
10
Наружный диаметр труб
3,7
Диаметр
13А
Условное обозначение сталь
ГОСТ 20196-74
Нормативно-технический документ

То же, из стали марки 13Х11Н2В2МФ:

Переходник ввертной 10-3,7-11А-ГОСТ 20196-74

Переходник ввертной
Наименование метиза
10
Наружный диаметр труб
3,7
Диаметр
11А
Условное обозначение сталь
ГОСТ 20196-74
Нормативно-технический документ

То же, из бронзы:

Переходник ввертной 10-3,7-41А-ГОСТ 20196-74

Переходник ввертной
Наименование метиза
10
Наружный диаметр труб
3,7
Диаметр
41А
Условное обозначение Бронза
ГОСТ 20196-74
Нормативно-технический документ

То же, для изделий общего применения:

Переходник ввертной 10-3,7-31-ГОСТ 20196-74

Переходник ввертной 10-3,7-22-ГОСТ 20196-74

Переходник ввертной 10-3,7-13-ГОСТ 20196-74

Переходник ввертной 10-3,7-11-ГОСТ 20196-74

Переходник ввертной 10-3,7-41-ГОСТ 20196-74

Переходник ввертной
Наименование метиза
10
Наружный диаметр труб
3,7
Диаметр
41
Изделия общего применения
ГОСТ 20196-74
Нормативно-технический документ

ПРИМЕНЕНИЕ

     Настоящий стандарт распространяется на переходники ввертные, предназначенные для соединений трубопроводов по наружному конусу.

АНАЛОГИ

ОСТ/ГОСТНормальНаименованиеТипоразмерНа складе
ГОСТ 20196-74Переходник ввертной6х5,5В наличии
ГОСТ 20196-74Переходник ввертной6х7,5В наличии
ГОСТ 20196-74Переходник ввертной6х9,5В наличии
ГОСТ 20196-74Переходник ввертной8х3,7В наличии
ГОСТ 20196-74Переходник ввертной8х7,5В наличии
ГОСТ 20196-74Переходник ввертной8х9,5В наличии
ГОСТ 20196-74Переходник ввертной8х11,5В наличии
ГОСТ 20196-74Переходник ввертной8х13,5В наличии
ГОСТ 20196-74Переходник ввертной10х3,7В наличии
ГОСТ 20196-74Переходник ввертной10х7,5В наличии
ГОСТ 20196-74Переходник ввертной10х9,5В наличии
ГОСТ 20196-74Переходник ввертной10х11,5В наличии
ГОСТ 20196-74Переходник ввертной10х13,5В наличии
ГОСТ 20196-74Переходник ввертной12х7,5В наличии
ГОСТ 20196-74Переходник ввертной12х9,5В наличии
ГОСТ 20196-74Переходник ввертной12х11,5В наличии
ГОСТ 20196-74Переходник ввертной12х13,5В наличии
ГОСТ 20196-74Переходник ввертной12х15,5В наличии
ГОСТ 20196-74Переходник ввертной14х7,5В наличии
ГОСТ 20196-74Переходник ввертной14х9,5В наличии
ГОСТ 20196-74Переходник ввертной14х11,5В наличии
ГОСТ 20196-74Переходник ввертной14х15,5В наличии
ГОСТ 20196-74Переходник ввертной16х7,5В наличии
ГОСТ 20196-74Переходник ввертной16х9,5В наличии
ГОСТ 20196-74Переходник ввертной16х11,5В наличии
ГОСТ 20196-74Переходник ввертной16х15,5В наличии
ГОСТ 20196-74Переходник ввертной18х9,5В наличии
ГОСТ 20196-74Переходник ввертной18х11,5В наличии
ГОСТ 20196-74Переходник ввертной18х13,5В наличии
ГОСТ 20196-74Переходник ввертной18х17В наличии
ГОСТ 20196-74Переходник ввертной18х19В наличии
ГОСТ 20196-74Переходник ввертной18х22В наличии
ГОСТ 20196-74Переходник ввертной22х13,5В наличии
ГОСТ 20196-74Переходник ввертной22х15,5В наличии
ГОСТ 20196-74Переходник ввертной22х17В наличии
ГОСТ 20196-74Переходник ввертной22х22В наличии
ГОСТ 20196-74Переходник ввертной22х25В наличии
ГОСТ 20196-74Переходник ввертной28х19В наличии
ГОСТ 20196-74Переходник ввертной28х22В наличии
ГОСТ 20196-74Переходник ввертной28х27В наличии
ГОСТ 20196-74Переходник ввертной28х28В наличии
ГОСТ 20196-74Переходник ввертной28х30В наличии
ГОСТ 20196-74Переходник ввертной28х32В наличии
ГОСТ 20196-74Переходник ввертной36х25В наличии

Для изготовителей и поставщиков: Добавить мои товары в базу

Для покупателей: Подать заявку на покупку

НаименованиеТипоразмерМатериалКоличество, штВес, кг
Переходник ввертной ГОСТ 20196-74
О

ОСТ 1 30055-84 Накатка кольцевая стержней болт-заклепок из титанового сплава

ОСТ 1 31076-80 Маркировка крепежных изделий взамен НОРМАЛЬ 176АТ

ОСТ 1 31076-80: Маркировка крепежных изделий (взамен НОРМАЛЬ 176АТ)

ОСТ 1 38016-80 Футорки

ОСТ 1 38020-82 Втулки

ОСТ 1 39502-77 Стопорение болтов, винтов, шпилек, штифтов и гаек

ОСТ 1 39503-77 Длины болтов и винтов

ОСТ 1 39504-79 Головки шестигранные болтов и винтов

ОСТ 1 41471-79 Формообразование концов труб тяг управления из сплава Д16Т. Типовой технологический процесс

ОСТ 1 51730-79 Оснастка для формообразования концов труб тяг управления из сплава Д16Т

ОСТ 1 51731-79 Оснастка для формообразования концов труб тяг управления из сплава Д16Т

ОСТ 1.41001-79 Диаметры отверстий под нарезание резьбы метрической по нормали 754АТ

ОСТ 1.41002-79 Диаметры стержней под нарезание резьбы метрической по нормали 754АТ и ОСТ 1.00039-73

ОСТ 92-0762-72 Болты, винты из титановых сплавов

ОСТ 92-0912-69 Детали из высокопрочных углеродистых легированных и высоколегированных сталей. ОСТ 92-0912-69

ОСТ 92-1130-85 Детали стальные точные

ОСТ 92-1179-77 Детали и сборочные единицы из сталей марок 07Х16Н6 и 08Х17Н5М3

ОСТ 92-8653-75 по ОСТ 92-8674-75 Соединения трубопроводов по внутреннему конусу

ОСТ 92-8843-77 Крепежные детали повышенного качества

ОСТ-1-33102-80 Взамен нормали 102АТУ Гайки ОСТ-1-33102-80

Отраслевая нормаль 214АТ В замен нормали 214МТ55 метрическая резьбой со свободной посадкой

Отраслевая нормаль 714М55 pdf Кольца плоские ,стопорные технические условия

Отраслевая нормаль авиационной техники 101АТУ Взамен 201СТУ51

Отраслевая нормаль авиационной техники. Нормаль 722АТ.

Р

РЕЗЬБА МЕТРИЧЕСКАЯ

Резьба метрическая усиленная тугой посадкой сталь в алюминиевые и магниевые сплавы. Нормаль 254АТ взамен нормальный 154МТ46

Резьба метрическая. Основные размеры и допуски. Отраслевая нормаль 257АТ взамен 57АТ50 взамен 153МТ54.

РЕЗЬБА ТРАПЕЦЕИДАЛЬНАЯ

РЕЗЬБА ТРУБНАЯ ЦИЛИНДРИЧЕСКАЯ

РЕЗЬБА УПОРНАЯ

Резьба усиленная метрическая тугой посадкой сталь сталь система вала настоящая норма распространяется на резьбу усиленную метрическую тугой посадкой для сопрягаемых материалов сталь в сталь. Нормаль 122МТ53 взамен нормали 122МТ51

Резьба усиленная метрическая тугой посадкой сталь сталь система вала настоящая норма распространяется на резьбу усиленную метрическую тугой посадкой для сопрягаемых материалов сталь в сталь. Нормаль 122МТ53 взамен нормали 122МТ51

Резьбовые соединения. Резьба метрическая с натягом по посадкам 2Н5Д и 2Н5С Отраслевой стандарт ОСТ 1 04065–92

Оформите заказ или получите консультацию