ОСТ 92-8660-75 Гайки накидные с контрольными отверстиями

ОСТ 92-8660-75 Гайки накидные с контрольными отверстиями

Взамен НО 3391-60

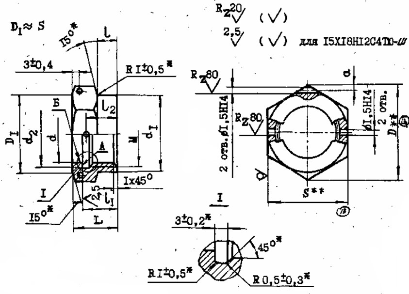
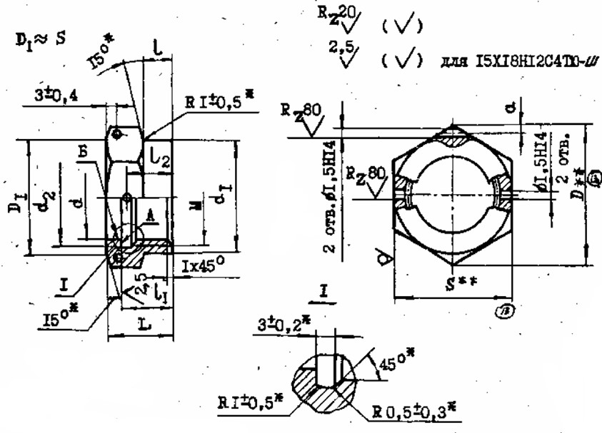
Настоящий стандарт распространяется на гайки накидные с контрольными отверстиями для соединений трубопроводов по внутреннему конусу (торовых) и устанавливает их конструкцию, размеры и технические требования.

Конструкция и технические особенности

Конструкция гайки состоит из цилиндрического корпуса с внутренним отверстием и внутренней резьбой, в торце шестигранная вершина.

Материал изготовления: сплав алюминиевый АВТ-I; Д16ТПП, сталь. 38ХА; 45 нагарт.; 09Х16Н4Б; 15Х18Н12С4ТЮ-Ш (ЭИ 654-Ш); 07Х2II7AH5-Ш (ЭП 222-Ш)

Для использования гаек в агрессивной среде применяют различные виды покрытий - цинк, хром, никель, наносимые разнообразными способами.

ОСТ 92-8660-75.pdf

Пример условного обозначения накидной гайки для трубопроводов с Dу=20мм из алюминиевого сплава АВТ-I:

Гайка накидная 20-ХО-ОСТ 92-8660-75

то же, из алюминиевого сплава Д16ТПП:

Гайка накидная 20-35-ОСТ 92-8660-75

то же, из стали марки 38ХА:

Гайка накидная 20-88-ОСТ 92-8660-75

то же, из стали марки 45:

Гайка накидная 20-66-ОСТ 92-8660-75

то же, из стали марки 09Х16Н4Б:

Гайка накидная 20-55-ОСТ 92-8660-75

то же, из стали марки 15Х18Н12С4ТЮ-Ш:

Гайка накидная 20-ДЗ-ОСТ 92-8660-75

то же, из стали марки 15Х18Н12С4ТЮ-Ш для низких температур:

Гайка накидная 20-ДЗt-ОСТ 92-8660-75

то же, из стали марки 07Х2II7АН5-Ш:

Гайка накидная 20-ДО-ОСТ 92-8660-75

то же, из стали марки 07Х2II7АН5-Ш для низких температур:

Гайка накидная 20-ДОt-ОСТ 92-8660-75

Гайка накидная
Наименование метиза
20
ДОt
Материал изготовления
ОСТ 92-8660-75
Нормативно-технический документ

ПРИМЕНЕНИЕ

Гайки применяются во многих отраслях промышленности, строительства и машиностроении. Высокий спрос на изделие и в машиностроеннии, где такие Гайки используют для надежного крепления, соединения металлических конструкций.

АНАЛОГИ

Нормаль НО 3391-60

ОСТ/ГОСТНормальНаименованиеТипоразмерНа складе
ОСТ 92-8660-753391-60Гайка накидная4В наличии
ОСТ 92-8660-753391-60Гайка накидная6В наличии
ОСТ 92-8660-753391-60Гайка накидная8В наличии
ОСТ 92-8660-753391-60Гайка накидная10В наличии
ОСТ 92-8660-753391-60Гайка накидная12В наличии
ОСТ 92-8660-753391-60Гайка накидная14В наличии
ОСТ 92-8660-753391-60Гайка накидная16В наличии
ОСТ 92-8660-753391-60Гайка накидная18В наличии
ОСТ 92-8660-753391-60Гайка накидная20В наличии
ОСТ 92-8660-753391-60Гайка накидная22В наличии
ОСТ 92-8660-753391-60Гайка накидная23В наличии
ОСТ 92-8660-753391-60Гайка накидная24В наличии
ОСТ 92-8660-753391-60Гайка накидная25В наличии
ОСТ 92-8660-753391-60Гайка накидная26В наличии
ОСТ 92-8660-753391-60Гайка накидная28В наличии
ОСТ 92-8660-753391-60Гайка накидная30В наличии
ОСТ 92-8660-753391-60Гайка накидная32В наличии
ОСТ 92-8660-753391-60Гайка накидная35В наличии
ОСТ 92-8660-753391-60Гайка накидная40В наличии
ОСТ 92-8660-753391-60Гайка накидная45В наличии
ОСТ 92-8660-753391-60Гайка накидная48В наличии
ОСТ 92-8660-753391-60Гайка накидная50В наличии

Для изготовителей и поставщиков: Добавить мои товары в базу

Для покупателей: Подать заявку на покупку

НаименованиеТипоразмерМатериалКоличество, штВес, кг
Гайка накидная ОСТ 92-8660-75 3391-60
О

ОСТ 1 30055-84 Накатка кольцевая стержней болт-заклепок из титанового сплава

ОСТ 1 31076-80 Маркировка крепежных изделий взамен НОРМАЛЬ 176АТ

ОСТ 1 31076-80: Маркировка крепежных изделий (взамен НОРМАЛЬ 176АТ)

ОСТ 1 38016-80 Футорки

ОСТ 1 38020-82 Втулки

ОСТ 1 39502-77 Стопорение болтов, винтов, шпилек, штифтов и гаек

ОСТ 1 39503-77 Длины болтов и винтов

ОСТ 1 39504-79 Головки шестигранные болтов и винтов

ОСТ 1 41471-79 Формообразование концов труб тяг управления из сплава Д16Т. Типовой технологический процесс

ОСТ 1 51730-79 Оснастка для формообразования концов труб тяг управления из сплава Д16Т

ОСТ 1 51731-79 Оснастка для формообразования концов труб тяг управления из сплава Д16Т

ОСТ 1.41001-79 Диаметры отверстий под нарезание резьбы метрической по нормали 754АТ

ОСТ 1.41002-79 Диаметры стержней под нарезание резьбы метрической по нормали 754АТ и ОСТ 1.00039-73

ОСТ 92-0762-72 Болты, винты из титановых сплавов

ОСТ 92-0912-69 Детали из высокопрочных углеродистых легированных и высоколегированных сталей. ОСТ 92-0912-69

ОСТ 92-1130-85 Детали стальные точные

ОСТ 92-1179-77 Детали и сборочные единицы из сталей марок 07Х16Н6 и 08Х17Н5М3

ОСТ 92-8653-75 по ОСТ 92-8674-75 Соединения трубопроводов по внутреннему конусу

ОСТ-1-33102-80 Взамен нормали 102АТУ Гайки ОСТ-1-33102-80

Отраслевая нормаль 214АТ В замен нормали 214МТ55 метрическая резьбой со свободной посадкой

Отраслевая нормаль 714М55 pdf Кольца плоские ,стопорные технические условия

Отраслевая нормаль авиационной техники 101АТУ Взамен 201СТУ51

Отраслевая нормаль авиационной техники. Нормаль 722АТ.

Р

РЕЗЬБА МЕТРИЧЕСКАЯ

Резьба метрическая усиленная тугой посадкой сталь в алюминиевые и магниевые сплавы. Нормаль 254АТ взамен нормальный 154МТ46

Резьба метрическая. Основные размеры и допуски. Отраслевая нормаль 257АТ взамен 57АТ50 взамен 153МТ54.

РЕЗЬБА ТРАПЕЦЕИДАЛЬНАЯ

РЕЗЬБА ТРУБНАЯ ЦИЛИНДРИЧЕСКАЯ

РЕЗЬБА УПОРНАЯ

Резьба усиленная метрическая тугой посадкой сталь сталь система вала настоящая норма распространяется на резьбу усиленную метрическую тугой посадкой для сопрягаемых материалов сталь в сталь. Нормаль 122МТ53 взамен нормали 122МТ51

Резьба усиленная метрическая тугой посадкой сталь сталь система вала настоящая норма распространяется на резьбу усиленную метрическую тугой посадкой для сопрягаемых материалов сталь в сталь. Нормаль 122МТ53 взамен нормали 122МТ51

Резьбовые соединения. Резьба метрическая с натягом по посадкам 2Н5Д и 2Н5С Отраслевой стандарт ОСТ 1 04065–92

Оформите заказ или получите консультацию