ОСТ 1 37011-80 ПРОФИЛИ из алюминиевого сплава с плавающими самоконтрящимися гайками для тонких обшивок
Взамен 3387А
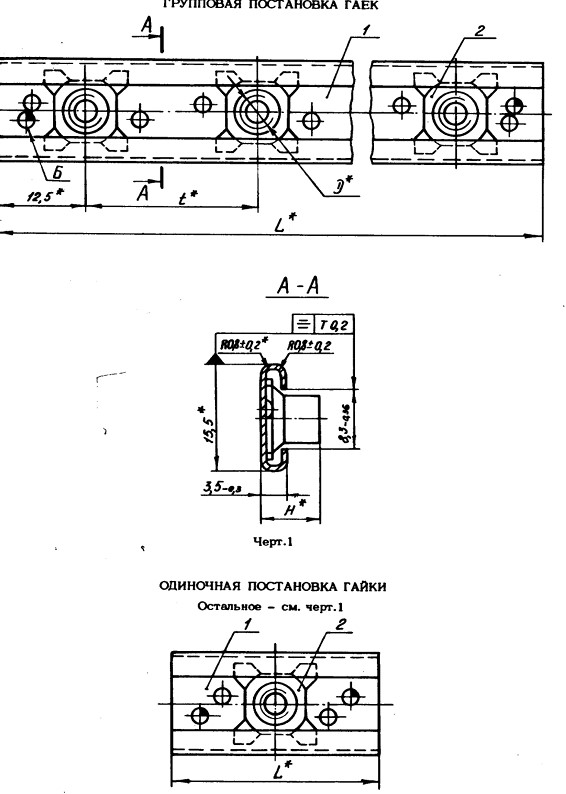
Настоящий стандарт распространяется на профили из алюминиевого сплава с плавающими самоконтрящимися гайками для тонких обшивок, предназначенные для эксплуатации в соединениях с несоосиостью оси болта и оси отверстий под гайку.
КОНСТРУКЦИЯ И ТЕХНИЧЕСКИЕ ОСОБЕННОСТИ
Конструкция профиля состоит из профиля (ОСТ 1 37010-80) и гайки (ОСТ 1 37012-80). Размер L по ОСТ 1 37010-80.
Материал изготовления: в сборе.
Материал покрытия: в сборе.
Пример наименования и обозначения профиля из алюминиевого сплава длиной L=200мм с плавающими гайками (групповая постановка) с резьбой М5, с покрытием Ц.хр., установленным с шагом t=25мм для тонких обшивок:
Профиль 5-Ц-25-200-ОСТ 1 37011-80
Пример наименования и обозначения профиля из алюминиевого сплава с плавающей гайкой (одиночная постановка) с резьбой М5, с покрытием Ц.хр. для тонких обшивок:
Профиль 5-Ц-ОСТ 1 37011-80
ПРИМЕНЕНИЕ
Данные профили используются во многих отраслях промышленности.
АНАЛОГИ
Взамен 3387А.
| ОСТ/ГОСТ | Нормаль | Наименование | Типоразмер | На складе |
| ОСТ 1 37011-80 | Профиль | 5х25х200 | В наличии |
Для изготовителей и поставщиков: Добавить мои товары в базу
Для покупателей: Подать заявку на покупку
| Наименование | Типоразмер | Материал | Количество, шт | Вес, кг |
| Профиль ОСТ 1 37011-80 |
ОСТ 1 30055-84 Накатка кольцевая стержней болт-заклепок из титанового сплава
ОСТ 1 31076-80 Маркировка крепежных изделий взамен НОРМАЛЬ 176АТ
ОСТ 1 31076-80: Маркировка крепежных изделий (взамен НОРМАЛЬ 176АТ)
ОСТ 1 39502-77 Стопорение болтов, винтов, шпилек, штифтов и гаек
ОСТ 1 39503-77 Длины болтов и винтов
ОСТ 1 39504-79 Головки шестигранные болтов и винтов
ОСТ 1 51730-79 Оснастка для формообразования концов труб тяг управления из сплава Д16Т
ОСТ 1 51731-79 Оснастка для формообразования концов труб тяг управления из сплава Д16Т
ОСТ 1.41001-79 Диаметры отверстий под нарезание резьбы метрической по нормали 754АТ
ОСТ 1.41002-79 Диаметры стержней под нарезание резьбы метрической по нормали 754АТ и ОСТ 1.00039-73
ОСТ 92-0762-72 Болты, винты из титановых сплавов
ОСТ 92-1130-85 Детали стальные точные
ОСТ 92-1179-77 Детали и сборочные единицы из сталей марок 07Х16Н6 и 08Х17Н5М3
ОСТ 92-8653-75 по ОСТ 92-8674-75 Соединения трубопроводов по внутреннему конусу
ОСТ-1-33102-80 Взамен нормали 102АТУ Гайки ОСТ-1-33102-80
Отраслевая нормаль 214АТ В замен нормали 214МТ55 метрическая резьбой со свободной посадкой
Отраслевая нормаль 714М55 pdf Кольца плоские ,стопорные технические условия
Отраслевая нормаль авиационной техники 101АТУ Взамен 201СТУ51
2026 «Быстрометиз». Мы не интернет-магазин. Информация о наличии и стоимости продукции не является публичной офертой.
Задайте вопрос нашим специалистам